热门核心产品: 铂电阻 热电偶 压力变送器
温度仪表
热电偶
铂电阻
双金属温度计
液体压力式温度计
温度显示控制仪
液位仪表
6G雷达物位计
26G雷达物位计
导波雷达物位计
磁翻板液位计
射频导纳料位开关
压力仪表
压力表
压力变送器
差压变送器
调节阀
电动调节阀
气动调节阀
执行机构
电动执行器
气动执行器
阀门副件
气动阀门定位器
电动阀门调节模块
流量仪表
电磁流量计
联系我们

名称:J9九游会-(中国)真人游戏第一品牌
销售电话:1399-5587-416
027-83659758
027-83735182
地址:湖北省武汉市江汉区民主街47号

当前位置:主页 > 产品展示 > 压力仪表 > 压力变送器 >

TK3051DP/GP远传差压/压力变送器

TK3051DP/GP远传差压/压力变送器通过安装在管道或容器上的远传装置来感受被测压力,该压力经毛细管内的灌充硅油(或其它液体)传递到变送器的主体,可避免被测介质直接和变送器的隔离膜片接触。适用于腐蚀性或粘性液体压力或液位的测量。
产品详情 技术参数 优势与服务  

TK3051DP/GP远传差压/压力变送器


 

★ 概述

TK3051DP/GP远传差压/压力变送器通过安装在管道或容器上的远传装置来感受被测压力,该压力经毛细管内的灌充硅油(或其它液体)传递到变送器的主体,可避免被测介质直接和变送器的隔离膜片接触。适用于腐蚀性或粘性液体压力或液位的测量。

※ 适用场合

需要将高温介质与变送器隔离测量介质

对变送器敏感元件有腐蚀性作用。

悬浮液体或高粘度介质。

密封压力容器液位测量。

更换被测介质需要严格净化测量头。

测量头必须保持清洁卫生。

被测介质由于环境或流程温度变化而固化或结晶。

注意:真空场合不宜采用远传变送器

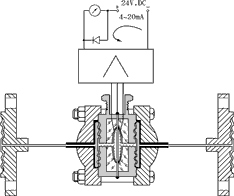
※ 工作原理



 

★ 特点

※ 逐台进行模拟在线运行考核,保证变送器在极限环境温度、介质温度和工作压力(包括正压或真空)下,稳定而可靠地工作。
※ 采用动态型面远传膜片结构,超载后膜片不会受损;长期工作后精度不会发生变化。
※ 选用全熔焊和刚性密封结构的灌充系统,根除了漏油现象的发生。
※ 设计新颖的毛细管结合部件,使毛细管得到可靠的保护,在现场使用不易折断。
※ 品种\形式\尺寸多样的远传装置,以及丰富的灌充液种类,可以满足各种不同场合的测量需要。
※ 可提供各种特殊需要产品,包括高温、高真空、快响应和不等长毛细管(差值≤45)远传差压变送器。

 
热销产品
 
公司地址:武汉市东西湖区革新大道胜河路盈创动力产业园13栋
服务热线:1399-5587-416 电话:027-83659758 027-83735182
Copyright©2014-2016 J9九游会-(中国)真人游戏第一品牌 All Rights Reserved.